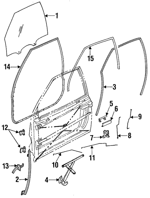
Glass - Front Door for 1993 Saturn SL2
No.
Part # / Description / Price
Price
4
Window Regulator
GM
GM Positions: Right
Description: Manual. Saturn. Sedan, wagon. Right.
MSRP $170.04
$91.18
MSRP $170.04
$91.18
5
MSRP $19.26
$13.87
5
MSRP $18.80
$13.54
Related Parts
Part # / Description / Price
Price
1991-2005 GM - Black Lock Striker
GM
GM Positions: Left
Description: Helps keep your vehicle's door securely closed
Helps prevent unexpected opening of your vehicle's door
This GM Genuine Part is designed, engineered, and tested to rigorous standards and is backed by General Motors
